USP Icon
Gemakkelijk retourneren
USP Icon
Klanten beoordelen Zandri met een 9
USP Icon
Meer dan 100.000 parts in het assortiment

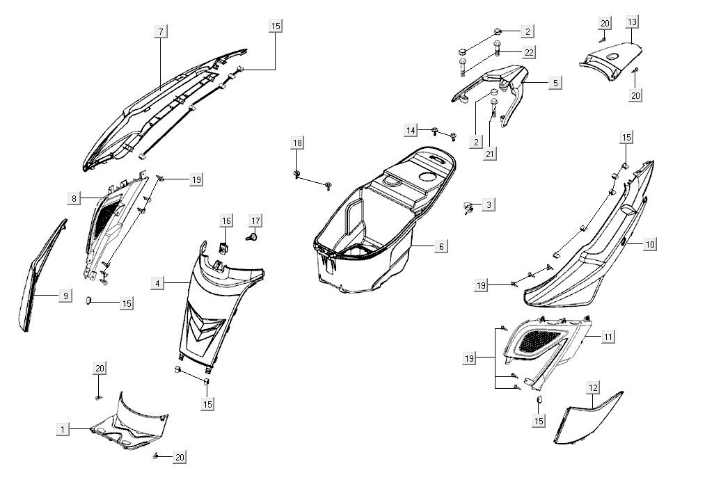
Body cover luggage box Kymco Super8 R E5 WIT

Body cover luggage box Kymco Super8 R E5 WIT
loader
Bezig met laden...