USP Icon
Gemakkelijk retourneren
USP Icon
Klanten beoordelen Zandri met een 9
USP Icon
Meer dan 100.000 parts in het assortiment

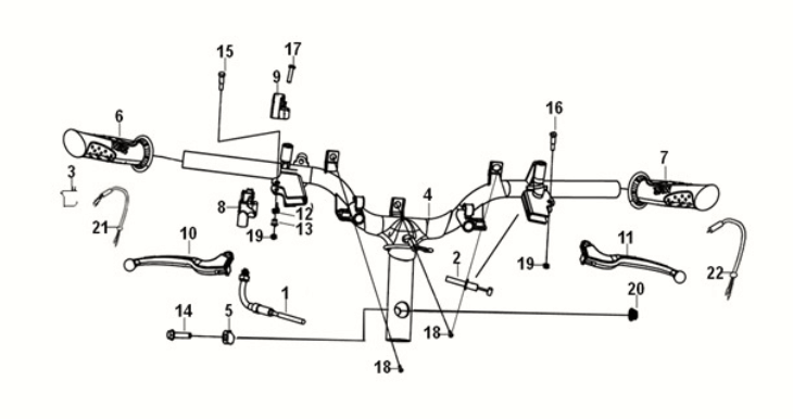
Cable - switch - handle lever Sym Orbit III 50 E5

Cable - switch - handle lever Sym Orbit III 50 E5
loader
Bezig met laden...