USP Icon
Gemakkelijk retourneren
USP Icon
Klanten beoordelen Zandri met een 9
USP Icon
Meer dan 100.000 parts in het assortiment

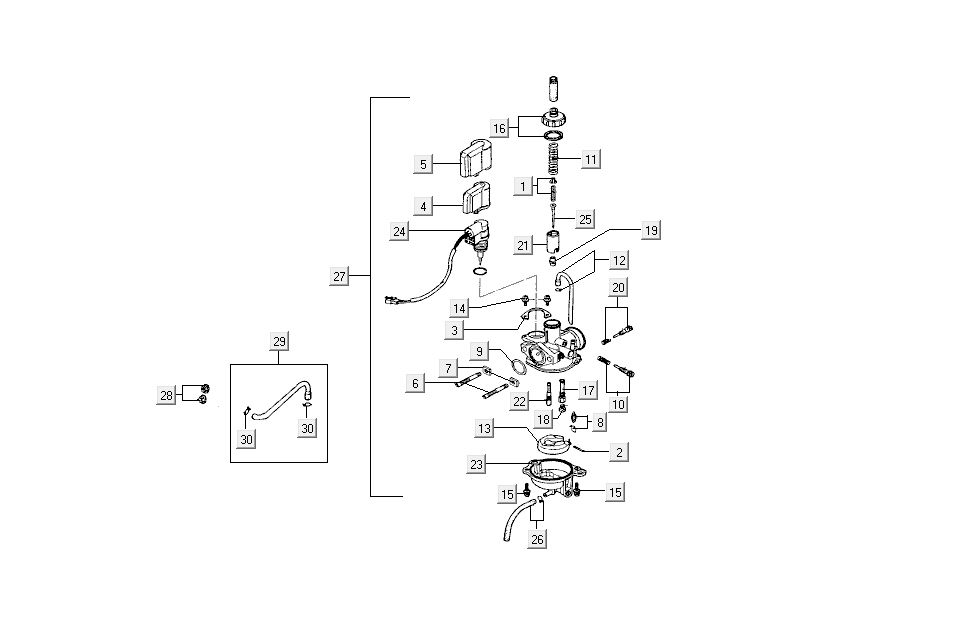
Carburateur - Choke Kymco B&W LC 2-takt zilver

Carburateur - Choke Kymco B&W LC 2-takt zilver
loader
Bezig met laden...

Onderdelen Kymco B&W LC 2-takt zilver