USP Icon
Gemakkelijk retourneren
USP Icon
Klanten beoordelen Zandri met een 9
USP Icon
Meer dan 100.000 parts in het assortiment

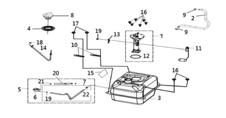
Fuel tank Sym Joymax Z 125 E4

Fuel tank Sym Joymax Z 125 E4
loader
Bezig met laden...

SYM Joymax Z 125i CBS E4 2019-2020 RED (R-010CA)