USP Icon
Gemakkelijk retourneren
USP Icon
Klanten beoordelen Zandri met een 9
USP Icon
Meer dan 100.000 parts in het assortiment

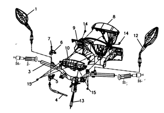
Gaskabel / tellerbekleding Sym Symphony ST 200I White (WH-006)

Gaskabel / tellerbekleding Sym Symphony ST 200I White (WH-006)
loader
Bezig met laden...