USP Icon
Gemakkelijk retourneren
USP Icon
Klanten beoordelen Zandri met een 9
USP Icon
Meer dan 100.000 parts in het assortiment

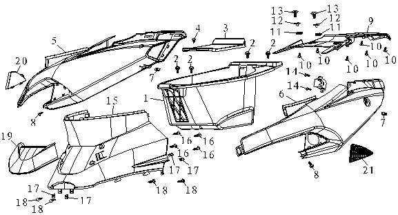
Helmbak - Kappen - Beplating achterzijde AGM FoX rood mat

Helmbak - Kappen - Beplating achterzijde AGM FoX rood mat
loader
Bezig met laden...