USP Icon
Gemakkelijk retourneren
USP Icon
Klanten beoordelen Zandri met een 9
USP Icon
Meer dan 100.000 parts in het assortiment

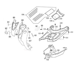
Kappen - Beplating Benzhou YY50QT-15 zwart

Kappen - Beplating Benzhou YY50QT-15 zwart
loader
Bezig met laden...