USP Icon
Gemakkelijk retourneren
USP Icon
Klanten beoordelen Zandri met een 9
USP Icon
Meer dan 100.000 parts in het assortiment

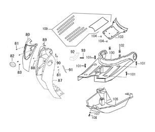
Kappen - Beplating China Flash / Pico patone blauw

Kappen - Beplating China Flash / Pico patone blauw
loader
Bezig met laden...