USP Icon
Gemakkelijk retourneren
USP Icon
Klanten beoordelen Zandri met een 9
USP Icon
Meer dan 100.000 parts in het assortiment

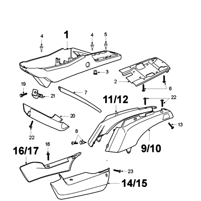
Kappen - Beplating Peugeot Fox Delivery Rood

Kappen - Beplating Peugeot Fox Delivery Rood
loader
Bezig met laden...