USP Icon
Gemakkelijk retourneren
USP Icon
Klanten beoordelen Zandri met een 9
USP Icon
Meer dan 100.000 parts in het assortiment

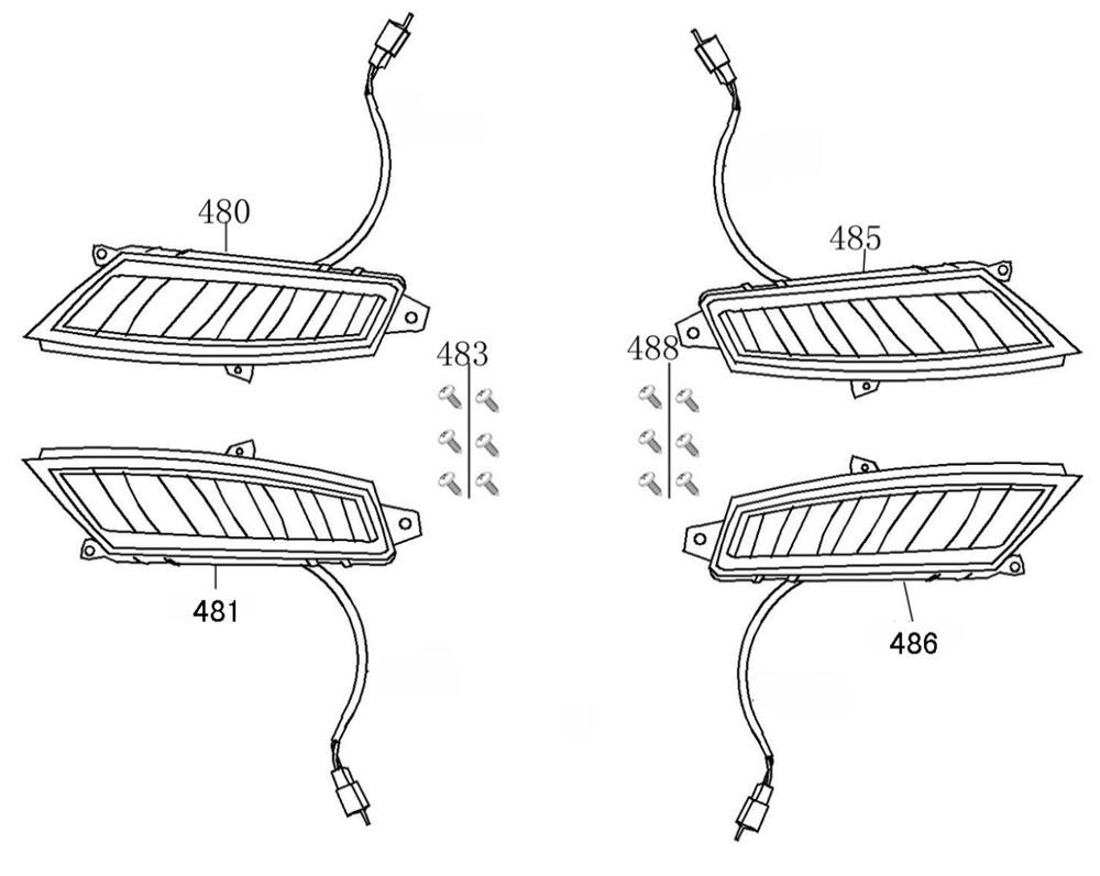
Knipperlichten Benzhou YY50QT-45A donkerblauw

Knipperlichten Benzhou YY50QT-45A donkerblauw
loader
Bezig met laden...