USP Icon
Gemakkelijk retourneren
USP Icon
Klanten beoordelen Zandri met een 9
USP Icon
Meer dan 100.000 parts in het assortiment

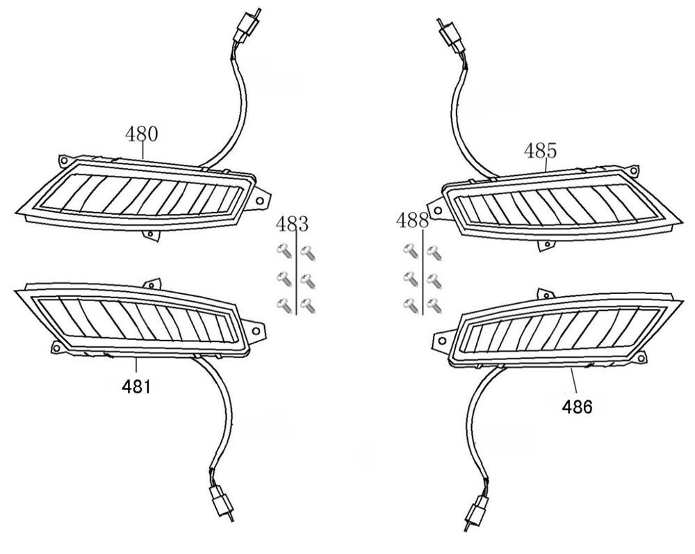
Knipperlichten Benzhou YY50QT-45A zwart

Knipperlichten Benzhou YY50QT-45A zwart
loader
Bezig met laden...