USP Icon
Gemakkelijk retourneren
USP Icon
Klanten beoordelen Zandri met een 9
USP Icon
Meer dan 100.000 parts in het assortiment

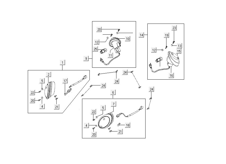
knipperlichten Kymco Sento 50 4-takt Roze

knipperlichten Kymco Sento 50 4-takt Roze
loader
Bezig met laden...

Onderdelen Kymco Sento 4-takt roze