USP Icon
Gemakkelijk retourneren
USP Icon
Klanten beoordelen Zandri met een 9
USP Icon
Meer dan 100.000 parts in het assortiment

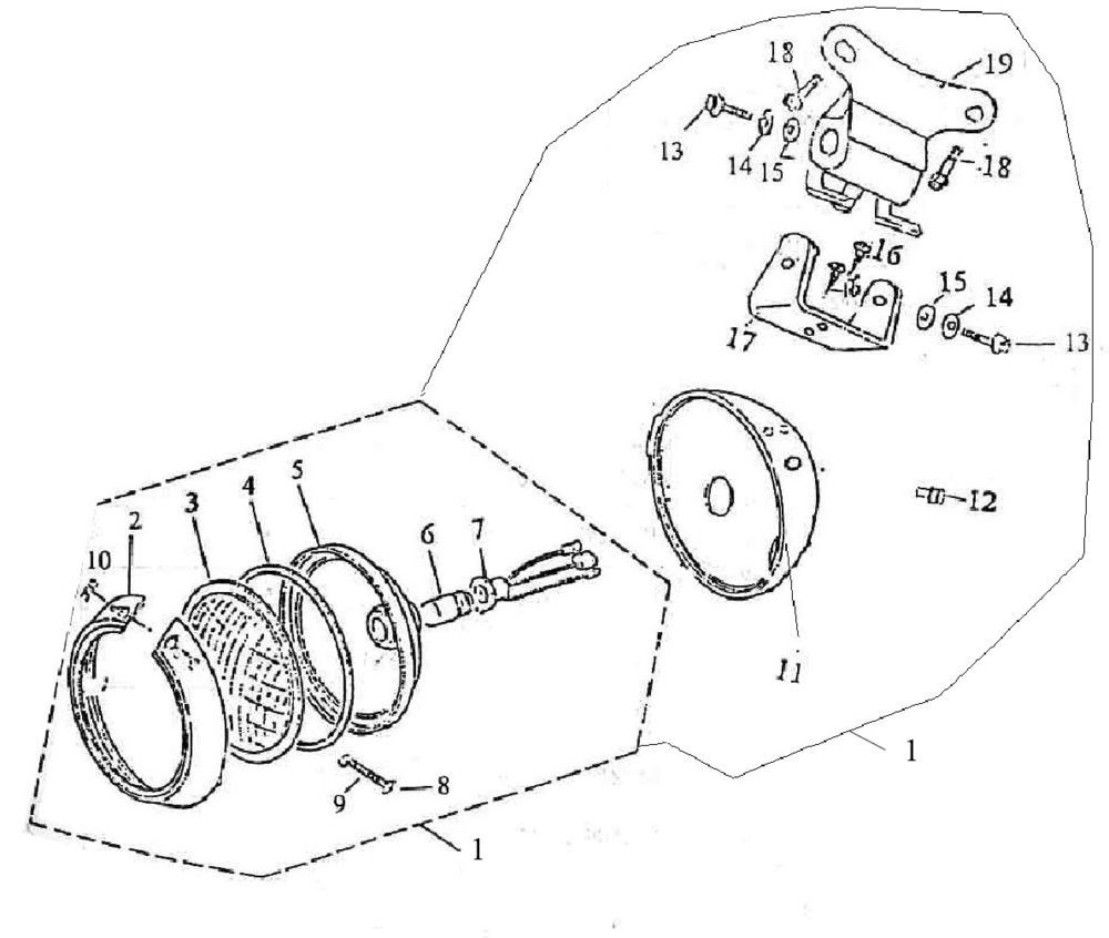
Koplamp AGM Retro ←2013 blauw wit

Koplamp AGM Retro ←2013 blauw wit
loader
Bezig met laden...

Onderdelen AGM Retro voor 2013 blauw wit