USP Icon
Gemakkelijk retourneren
USP Icon
Klanten beoordelen Zandri met een 9
USP Icon
Meer dan 100.000 parts in het assortiment

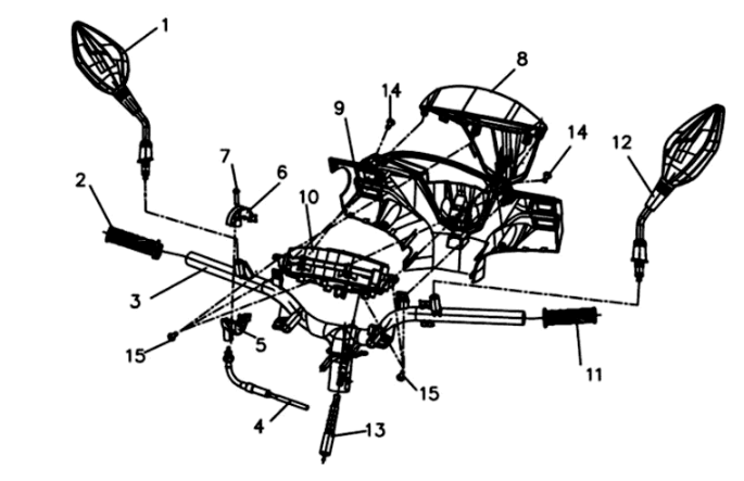
Koplamp KPL. Sym Symphony ST E3 Light Black (BK-7C)

Koplamp KPL. Sym Symphony ST E3 Light Black (BK-7C)
loader
Bezig met laden...