USP Icon
Gemakkelijk retourneren
USP Icon
Klanten beoordelen Zandri met een 9
USP Icon
Meer dan 100.000 parts in het assortiment

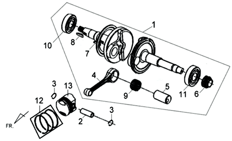
Krukas Sym Allo (WH871) champagne

Krukas Sym Allo (WH871) champagne
loader
Bezig met laden...

Sym Allo (WH871) champagne