USP Icon
Gemakkelijk retourneren
USP Icon
Klanten beoordelen Zandri met een 9
USP Icon
Meer dan 100.000 parts in het assortiment

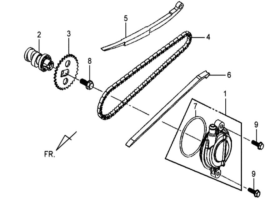
Nokkenas - Distributieketting - Kettinggeleiders Sym Mio

Nokkenas - Distributieketting - Kettinggeleiders Sym Mio
loader
Bezig met laden...