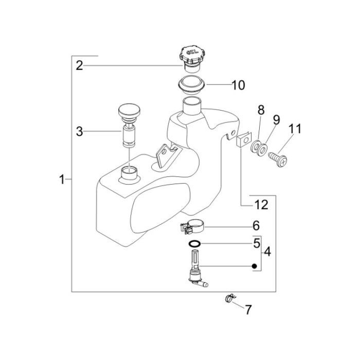
Olietank G-Dink 50
Omschrijving
55100-LKD8-E00
Specificaties
| Artikelnummer | KYM-55100-LKD8-E00 |
|---|---|
| EAN-13-code | 8717688293267 |
| Merk | Kymco |
| Merk Scooter | Kymco |
Reviews
Past onder andere op
Klik hieronder op uw model scooter voor alle passende onderdelen via onze technische tekeningen.


