USP Icon
Gemakkelijk retourneren
USP Icon
Klanten beoordelen Zandri met een 9
USP Icon
Meer dan 100.000 parts in het assortiment

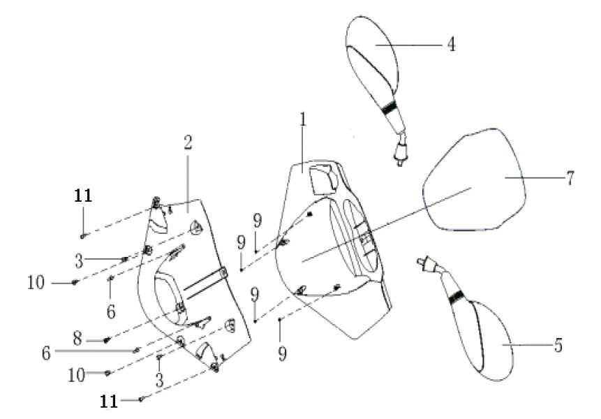
Spiegels Generic Cracker 50 2-takt zwart 2010 25

Spiegels Generic Cracker 50 2-takt zwart 2010 25
loader
Bezig met laden...

Onderdelen Generic Cracker zwart 2010 2-takt 25