USP Icon
Gemakkelijk retourneren
USP Icon
Klanten beoordelen Zandri met een 9
USP Icon
Meer dan 100.000 parts in het assortiment

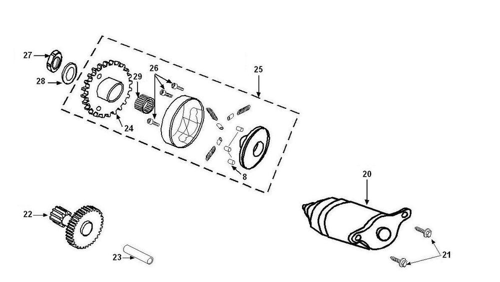
Startmotor - Bendix Peugeot Tweet 50 4-takt AC

Startmotor - Bendix Peugeot Tweet 50 4-takt AC
loader
Bezig met laden...

Onderdelen Peugeot Tweet 50cc 4-takt (replica / origineel)