USP Icon
Gemakkelijk retourneren
USP Icon
Klanten beoordelen Zandri met een 9
USP Icon
Meer dan 100.000 parts in het assortiment

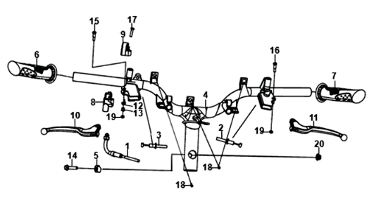
Stuurbocht / remhevels / kabels Sym Orbit III 125I E4

Stuurbocht / remhevels / kabels Sym Orbit III 125I E4
loader
Bezig met laden...

Sym Orbit III 125I Euro 4 RED (R-010CA)