USP Icon
Gemakkelijk retourneren
USP Icon
Klanten beoordelen Zandri met een 9
USP Icon
Meer dan 100.000 parts in het assortiment

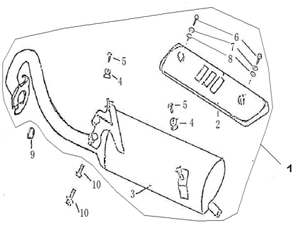
Uitlaat China Retro koffie creme

Uitlaat China Retro koffie creme
loader
Bezig met laden...

Onderdelen China Grande Retro koffie creme