USP Icon
Gemakkelijk retourneren
USP Icon
Klanten beoordelen Zandri met een 9
USP Icon
Meer dan 100.000 parts in het assortiment

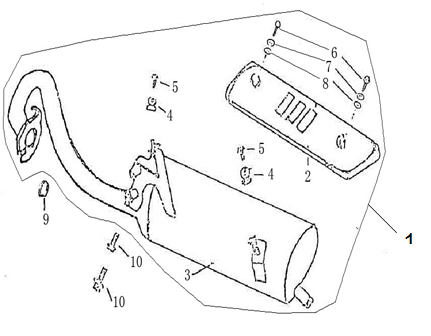
Uitlaat Fosti Retro wit zwart

Uitlaat Fosti Retro wit zwart
loader
Bezig met laden...

Onderdelen Fosti Grande Retro wit zwart