USP Icon
Gemakkelijk retourneren
USP Icon
Klanten beoordelen Zandri met een 9
USP Icon
Meer dan 100.000 parts in het assortiment

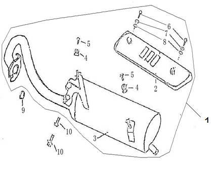
Uitlaat Turbho RG50 donkerblauw

Uitlaat Turbho RG50 donkerblauw
loader
Bezig met laden...

Onderdelen Turbho RG50 donkerblauw