USP Icon
Gemakkelijk retourneren
USP Icon
Klanten beoordelen Zandri met een 9
USP Icon
Meer dan 100.000 parts in het assortiment

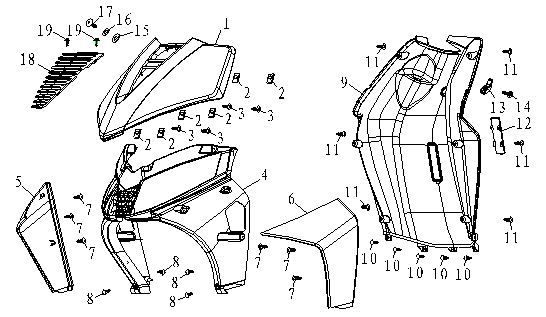
Voorkap - Beenschild AGM FoX blauw glans

Voorkap - Beenschild AGM FoX blauw glans
loader
Bezig met laden...