USP Icon
Gemakkelijk retourneren
USP Icon
Klanten beoordelen Zandri met een 9
USP Icon
Meer dan 100.000 parts in het assortiment

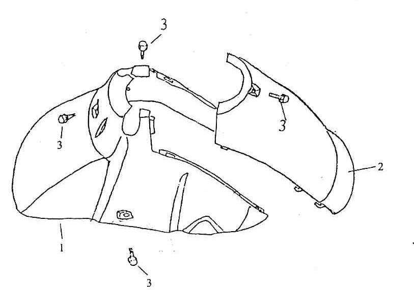
Voorspatbord AGM Retro 2013→ zwart creme

Voorspatbord AGM Retro 2013→ zwart creme
loader
Bezig met laden...

Onderdelen AGM Retro na 2013 zwart creme