USP Icon
Gemakkelijk retourneren
USP Icon
Klanten beoordelen Zandri met een 9
USP Icon
Meer dan 100.000 parts in het assortiment

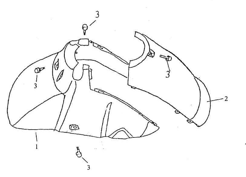
Voorspatbord China Grande Retro zwart

Voorspatbord China Grande Retro zwart
loader
Bezig met laden...