USP Icon
Gemakkelijk retourneren
USP Icon
Klanten beoordelen Zandri met een 9
USP Icon
Meer dan 100.000 parts in het assortiment

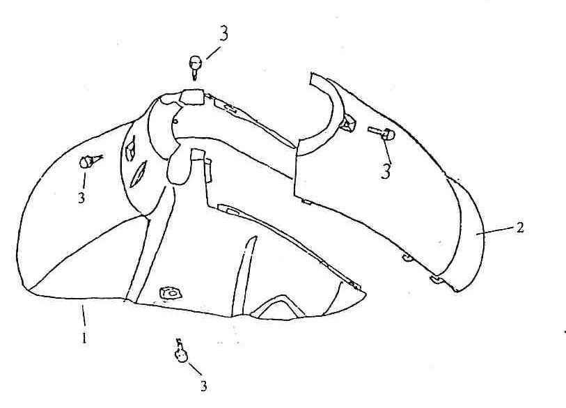
Voorspatbord Eagle-Wing Torino roze

Voorspatbord Eagle-Wing Torino roze
loader
Bezig met laden...

Onderdelen Eagle-Wing Torino roze