USP Icon
Gemakkelijk retourneren
USP Icon
Klanten beoordelen Zandri met een 9
USP Icon
Meer dan 100.000 parts in het assortiment

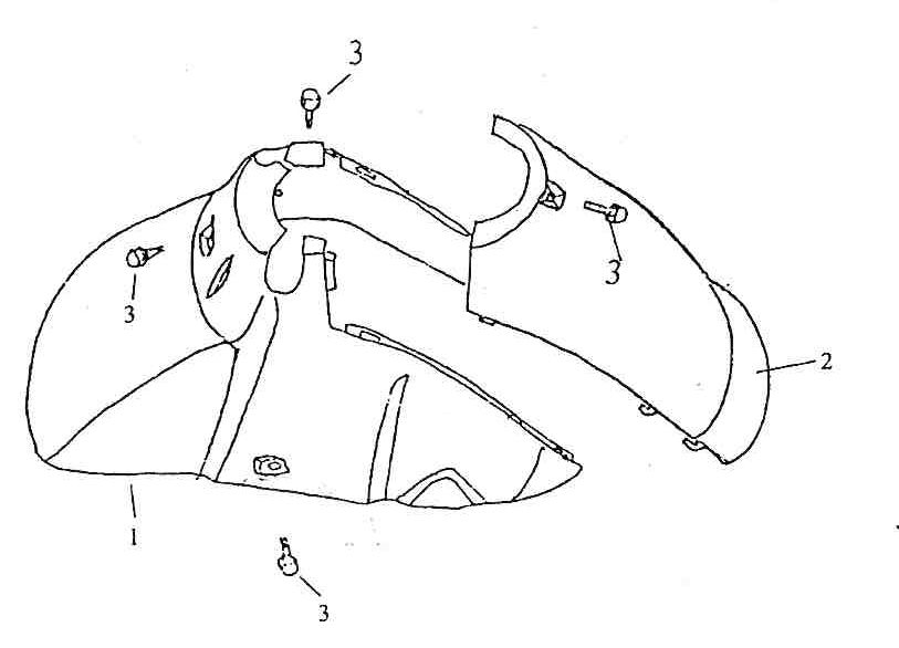
Voorspatbord Neco Borsalino blauw wit

Voorspatbord Neco Borsalino blauw wit
loader
Bezig met laden...

Neco Borsalino Uno (EURO 2; voor 2018)