USP Icon
Gemakkelijk retourneren
USP Icon
Klanten beoordelen Zandri met een 9
USP Icon
Meer dan 100.000 parts in het assortiment

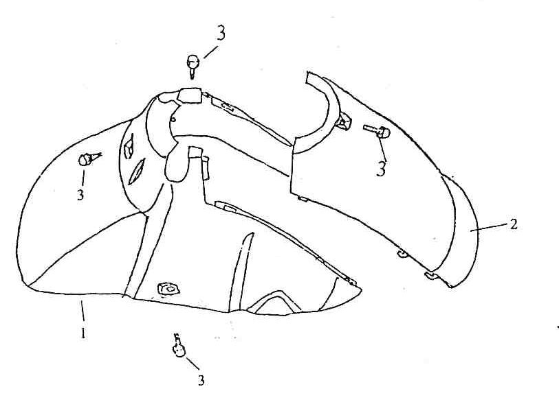
Voorspatbord Senzo Retro GT2 lichtblauw

Voorspatbord Senzo Retro GT2 lichtblauw
loader
Bezig met laden...

Senzo Retro GT2 (EURO 2; voor 2018)