USP Icon
Gemakkelijk retourneren
USP Icon
Klanten beoordelen Zandri met een 9
USP Icon
Meer dan 100.000 parts in het assortiment

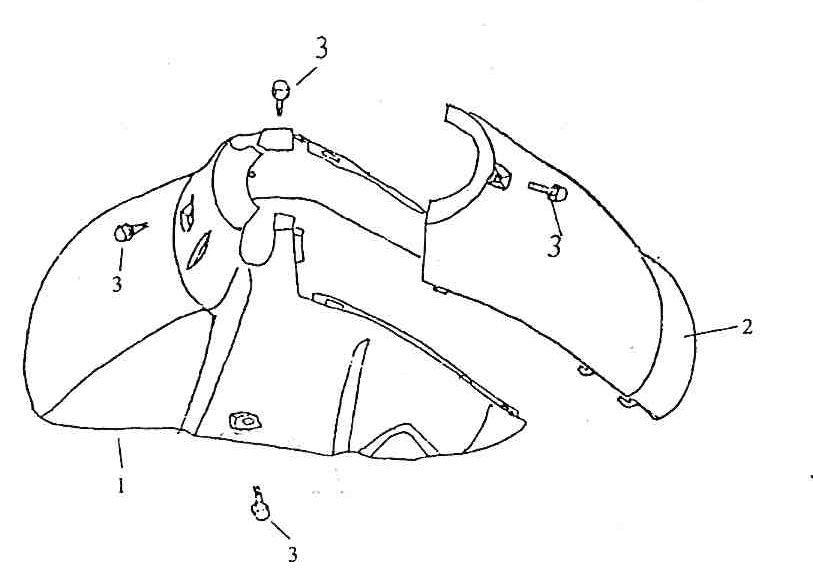
Voorspatbord Vom Bella blauw creme

Voorspatbord Vom Bella blauw creme
loader
Bezig met laden...

Onderdelen Vom Bella blauw creme