USP Icon
Gemakkelijk retourneren
USP Icon
Klanten beoordelen Zandri met een 9
USP Icon
Meer dan 100.000 parts in het assortiment

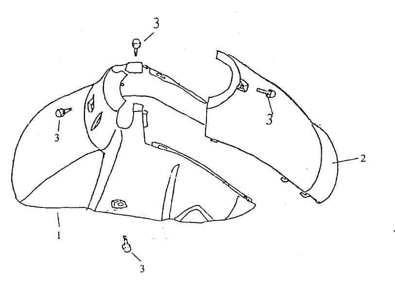
Voorspatbord Vom Bella Retro blauw creme

Voorspatbord Vom Bella Retro blauw creme
loader
Bezig met laden...

Onderdelen Vom Bella Retro blauw creme