USP Icon
Gemakkelijk retourneren
USP Icon
Klanten beoordelen Zandri met een 9
USP Icon
Meer dan 100.000 parts in het assortiment

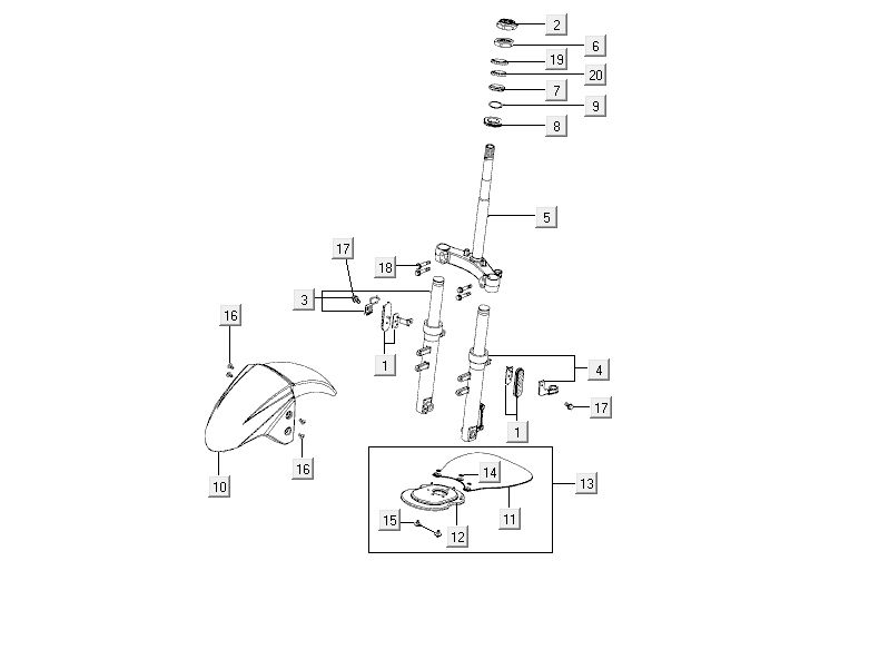
Voorvork - Balhoofdstel Kymco Delivery 4-takt wit

Voorvork - Balhoofdstel Kymco Delivery 4-takt wit
loader
Bezig met laden...

Onderdelen Kymco Agility Delivery 4-takt wit