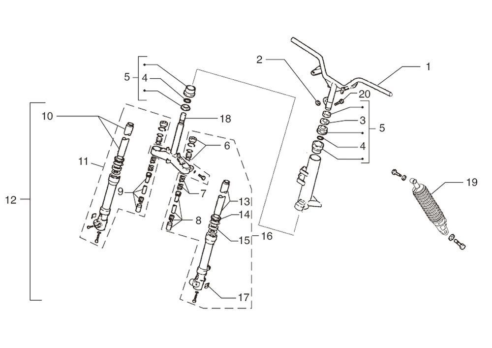
Voorvork - Balhoofdstel - Stuur - Schokbreker Beta Ark-k Skull 50 2-takt AC 2010 25
Past onder andere op
Klik hieronder op uw model scooter voor alle passende onderdelen via onze technische tekeningen.
Bezig met laden...


