USP Icon
Gemakkelijk retourneren
USP Icon
Klanten beoordelen Zandri met een 9
USP Icon
Meer dan 100.000 parts in het assortiment

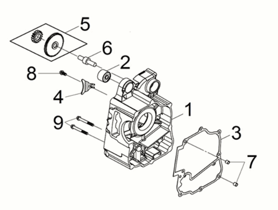
R. crank case comp Sym Joymax Z 125i E5 2022

R. crank case comp Sym Joymax Z 125i E5 2022
loader
Bezig met laden...

Sym Joymax Z 125i E5 2022 SUBMARINE GREY (GY7547UL)