USP Icon
Gemakkelijk retourneren
USP Icon
Klanten beoordelen Zandri met een 9
USP Icon
Meer dan 100.000 parts in het assortiment

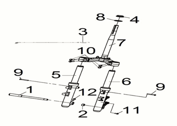
STRG. stem Sym Joymax Z 125i E5 2022

STRG. stem Sym Joymax Z 125i E5 2022
loader
Bezig met laden...

Sym Joymax Z 125i E5 2022 SUBMARINE GREY (GY7547UL)