USP Icon
Gemakkelijk retourneren
USP Icon
Klanten beoordelen Zandri met een 9
USP Icon
Meer dan 100.000 parts in het assortiment

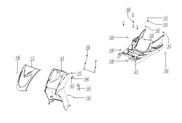
Kappen - Beplating Kymco Agility 12' 4-takt zilver

Kappen - Beplating Kymco Agility 12' 4-takt zilver
loader
Bezig met laden...

Onderdelen Kymco Agility 12' 4-takt zilver