USP Icon
Gemakkelijk retourneren
USP Icon
Klanten beoordelen Zandri met een 9
USP Icon
Meer dan 100.000 parts in het assortiment

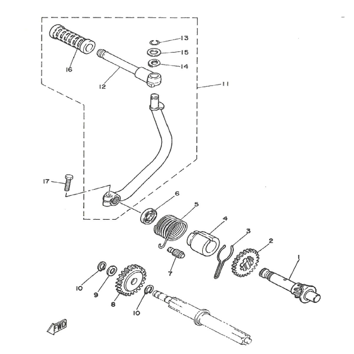
Kickstarter Yamaha DT-50 MX

Kickstarter Yamaha DT-50 MX
loader
Bezig met laden...