USP Icon
Gemakkelijk retourneren
USP Icon
Klanten beoordelen Zandri met een 9
USP Icon
Meer dan 100.000 parts in het assortiment

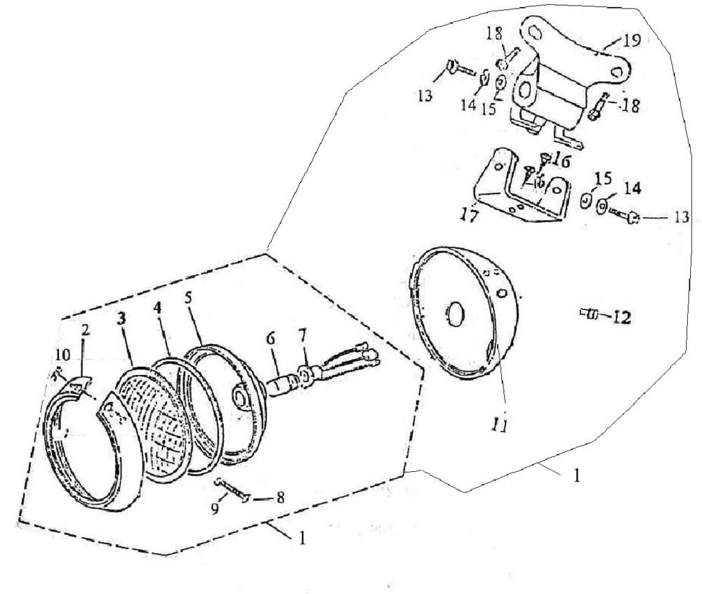
Koplamp Berini Bella Milano donkerblauw

Koplamp Berini Bella Milano donkerblauw
loader
Bezig met laden...

Onderdelen Berini Bella Milano donkerblauw