USP Icon
Gemakkelijk retourneren
USP Icon
Klanten beoordelen Zandri met een 9
USP Icon
Meer dan 100.000 parts in het assortiment

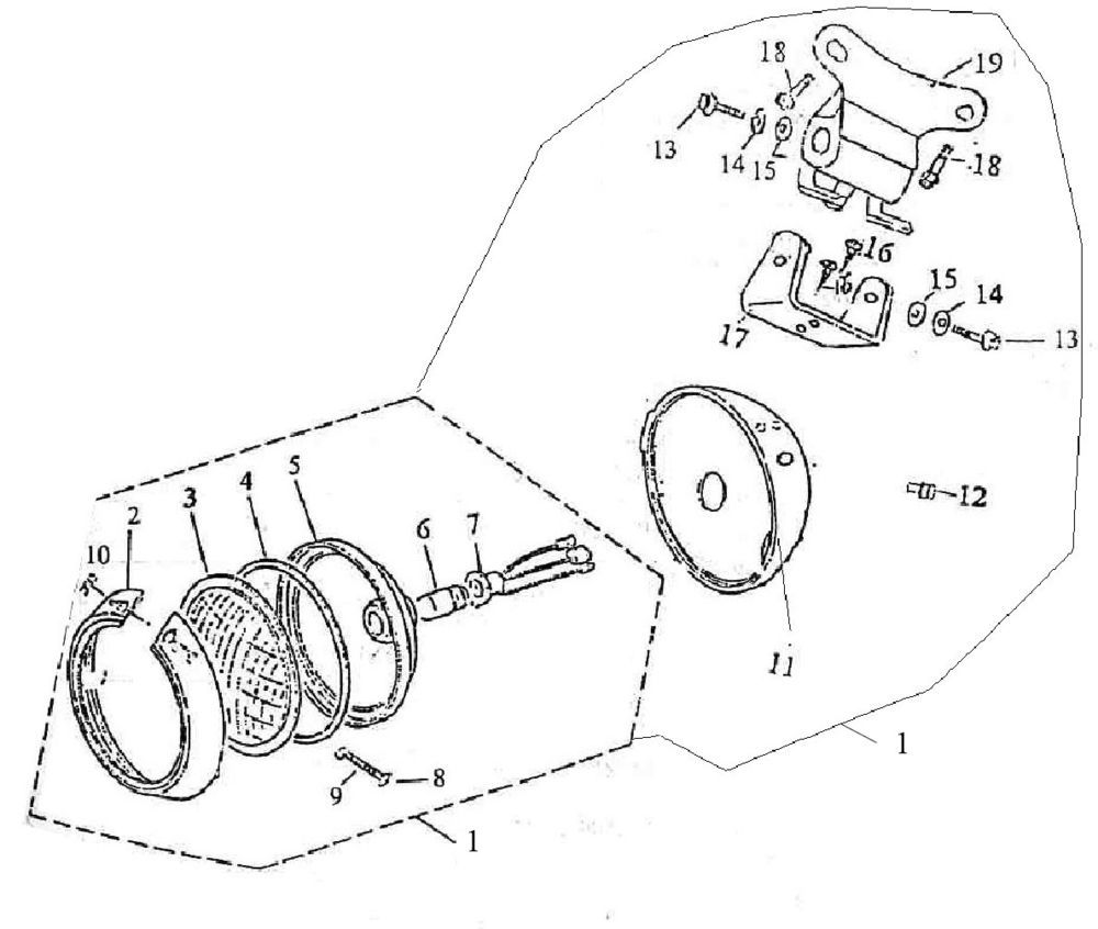
Koplamp BTC Grande Retro GT1 blauw wit

Koplamp BTC Grande Retro GT1 blauw wit
loader
Bezig met laden...

Onderdelen BTC Grande Retro GT1 blauw wit