USP Icon
Gemakkelijk retourneren
USP Icon
Klanten beoordelen Zandri met een 9
USP Icon
Meer dan 100.000 parts in het assortiment

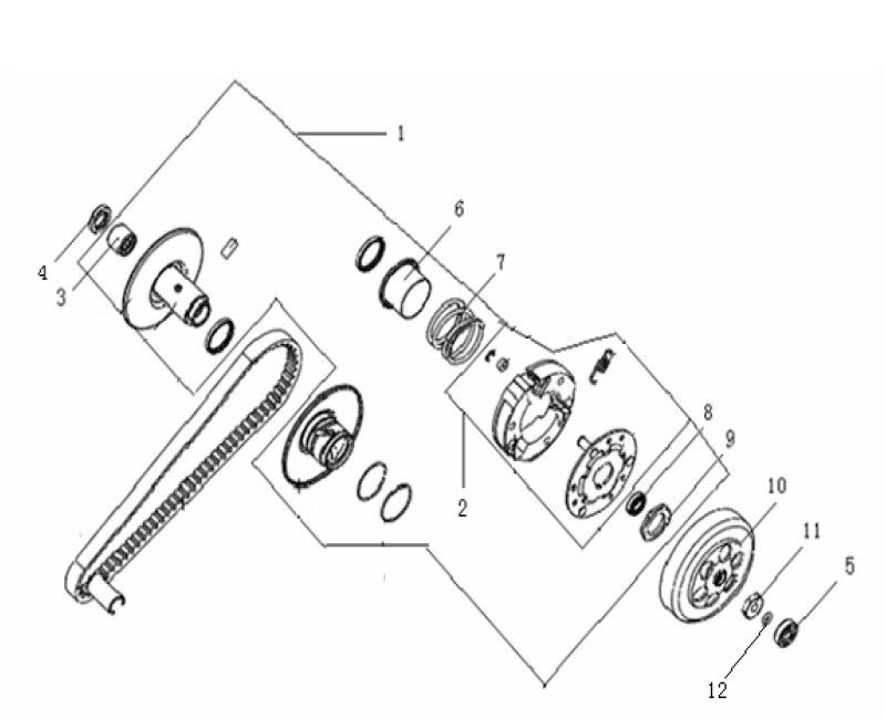
Koppeling - Koppelingshuis Generic Cracker 50 2-takt zwart 2010

Koppeling - Koppelingshuis Generic Cracker 50 2-takt zwart 2010
loader
Bezig met laden...

Onderdelen Generic Cracker zwart 2010 2-takt