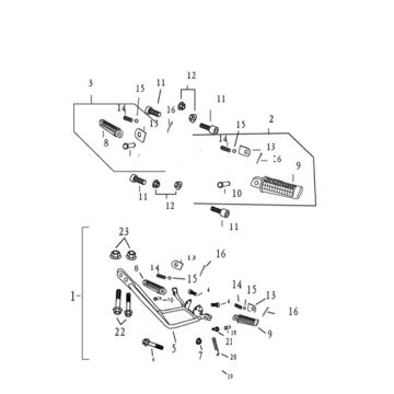
Technische tekeningen voor Agm Caferacer Base groen
Klik hier op de technische tekeningen of te wel exploded view van de Agm Caferacer Base groen waar u onderdelen of accessoires voor zoekt. De technische tekeningen van de Agm Caferacer Base groen geven u een duidelijk overzicht van de verschillende passende onderdelen en accessoires. Door zo uw onderdelen te zoeken, heeft u altijd passende onderdelen voor uw Agm Caferacer Base groen.


