Technische tekeningen voor Peugeot Speedfight 3 4-takt Grijs
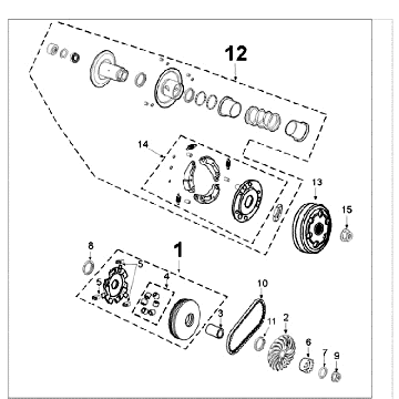
Klik hier op de technische tekeningen of te wel exploded view van de Peugeot Speedfight 3 4-takt Grijs scooter waar u onderdelen of accessoires voor zoekt. De technische tekeningen van de Peugeot Speedfight 3 4-takt Grijs geven u een duidelijk overzicht van de verschillende passende onderdelen en accessoires. Door zo uw onderdelen te zoeken, heeft u altijd passende onderdelen voor uw Peugeot Speedfight 3 4-takt Grijs.


