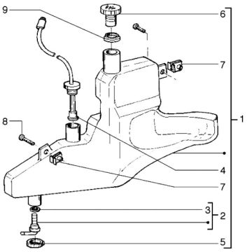
Technische tekeningen Piaggio Liberty 2-takt t/m 2005
Klik hier op de technische tekeningen / exploded view van de Piaggio Liberty 2-takt t/m 2005 scooter waar u onderdelen of accessoires voor zoekt. De technische tekeningen van de Piaggio Liberty 2-takt t/m 2005 geven u een duidelijk overzicht van de verschillende passende onderdelen en accessoires. Door zo uw onderdelen te zoeken, heeft u altijd passende onderdelen voor uw Piaggio Liberty 2-takt t/m 2005
Over de Piaggio Liberty
De Piaggio Liberty kwam in 1997 op de markt. Onderhuids heeft de Piaggio Liberty veel gemeen met de Piaggio Fly. Het grootste verschil zit in de wielen, de LIBERTY is uitgerust met 14 inch achterwiel en een 16 inch voorwiel, wat de stuureigenschappen ten goede komt. Hoe minder omwentelingen de wielen hoeven te maken, hoe makkelijker het regenwater kan worden afgevoerd door de band; waardoor aquaplanning veel minder snel optreed vergeleken met scooters met kleinere wielen. Als nadeel moet echter de beperkte bagageruimte worden benoemd. In de Liberty is er eigenlijk alleen plaats voor een slot onder de buddyseat. Zeker de viertaktversies van Piaggio Liberty zijn zeer populair, in zowel de 50cc, 125cc , 150cc en 200cc. De Piaggio liberty is betrouwbaar, zuinig en stil. Er zijn van de Piaggio Liberty bijna een miljoen scooters verkocht!!


