Technische tekeningen Piaggio Typhoon 98-2005 2-takt
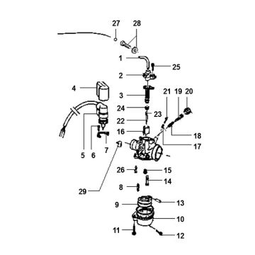
Klik hier op de technische tekeningen of te wel exploded view van de Piaggio Typhoon 98-2005 2-takt scooter waar u onderdelen of accessoires voor zoekt. De technische tekeningen van de Piaggio Typhoon 98-2005 2-takt geven u een duidelijk overzicht van de verschillende passende onderdelen en accessoires. Door zo uw onderdelen te zoeken, heeft u altijd passende onderdelen voor uw Piaggio Typhoon 98-2005 2-takt.
Piaggio Typhoon
De Piaggio Typhoon is lange tijd verkocht als Puch Typhoon. Deze air-cooled Piaggio 2 takt motor is relatief snel, maar vooral betrouwbaar. De Typhoon is een ruimte 2 persoonsscooter die ook voor onverharde wegen enigszins geschikt is. Een vaak voorkomend probleem bij deze Piaggio/Puch Typhoon is een vastzittende voorkvork. Check dus altijd goed de voorvork wanneer je een Piaggio Typhoon aanschaft. Net als veel andere scooters wordt dit merk scooter ingezet voor woon-werkverkeer, de boodschappen of om gewoon lekker toeren.
Onderdelen voor uw Piaggio Typhoon via technische tekening
Onderhoud aan uw Piaggio Typhoon is natuurlijk erg belangrijk. Maar hoe zoekt u uw onderdelen? Kies hierboven eerst uw type, dan uw model en bekijk dan de tekening die u nodig denkt te hebben. Als u via deze technische tekeningen uw onderdelen en accessoires zoekt, bent u altijd gegarandeerd van passende onderdelen voor uw Typhoon! Mocht u er niet uitkomen via de technische tekeningen dan kunnen we altijd telefonisch verder helpen.
Onderdelen en accessoires
Voor de Piaggio Typhoon zijn een groot aantal onderdelen en accessoires verkrijgbaar. Vanuit deze pagina kunt u navigeren naar de pagina waar alle onderdelen overzichtelijk geplaatst zijn, gerangschikt per type scooter. Voor alle universele delen kunt u zoeken via de categorieën of u kunt gebruik maken van de zoekbalk in de rechter bovenhoek.


