USP Icon
Gemakkelijk retourneren
USP Icon
Klanten beoordelen Zandri met een 9
USP Icon
Meer dan 100.000 parts in het assortiment

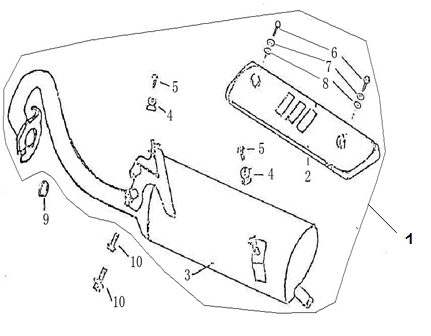
Uitlaat BTC Grande Retro GT1 smokey

Uitlaat BTC Grande Retro GT1 smokey
loader
Bezig met laden...

Onderdelen BTC Grande Retro GT1 smokey