USP Icon
Gemakkelijk retourneren
USP Icon
Klanten beoordelen Zandri met een 9
USP Icon
Meer dan 100.000 parts in het assortiment

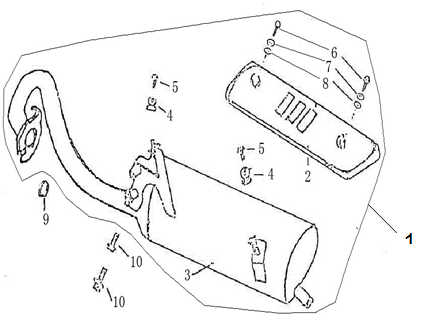
Uitlaat Znen Grand Retro koffie creme

Uitlaat Znen Grand Retro koffie creme
loader
Bezig met laden...

Onderdelen Znen Aurora IV koffie creme