USP Icon
Gemakkelijk retourneren
USP Icon
Klanten beoordelen Zandri met een 9
USP Icon
Meer dan 100.000 parts in het assortiment

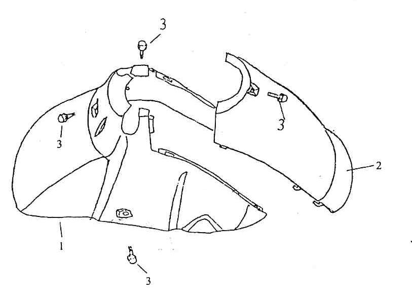
Voorspatbord BTC Grande Retro geel creme

Voorspatbord BTC Grande Retro geel creme
loader
Bezig met laden...

Onderdelen BTC Grande Retro (EURO 2; voor 2018)