USP Icon
Gemakkelijk retourneren
USP Icon
Klanten beoordelen Zandri met een 9
USP Icon
Meer dan 100.000 parts in het assortiment

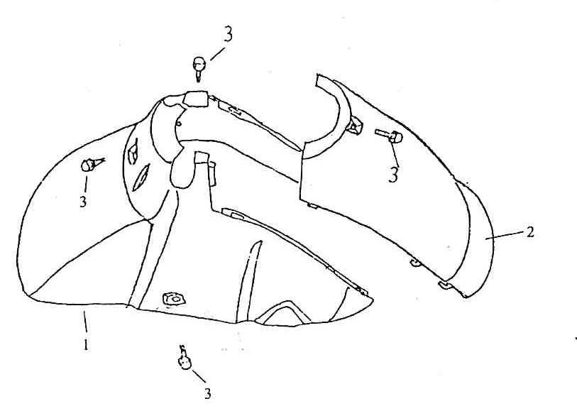
Voorspatbord BTC Grande Retro zwart creme

Voorspatbord BTC Grande Retro zwart creme
loader
Bezig met laden...

Onderdelen BTC Grande Retro zwart creme