USP Icon
Gemakkelijk retourneren
USP Icon
Klanten beoordelen Zandri met een 9
USP Icon
Meer dan 100.000 parts in het assortiment

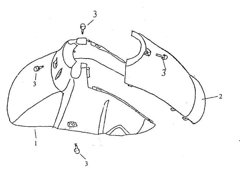
Voorspatbord Fosti Retro blauw wit

Voorspatbord Fosti Retro blauw wit
loader
Bezig met laden...

Onderdelen Fosti Grande Retro blauw wit