USP Icon
Gemakkelijk retourneren
USP Icon
Klanten beoordelen Zandri met een 9
USP Icon
Meer dan 100.000 parts in het assortiment

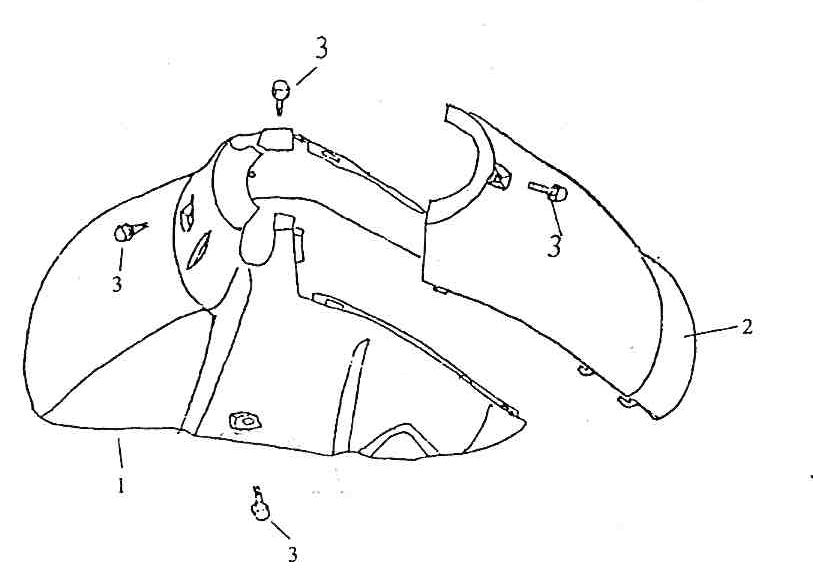
Voorspatbord Giantco Grand Venus oranje

Voorspatbord Giantco Grand Venus oranje
loader
Bezig met laden...

Onderdelen Giantco Grand Venus mat zwart